广州市威恒电子有限公司WAYTOP牌的M301旋转电磁铁在化学发光检测仪中的创新挡光应用案例
一、行业背景与客户需求
化学发光免疫分析技术是通过标记物的化学反应产生的光信号对待测物进行定量或定性分析的方法。在这一过程中,光路系统的稳定性和精确控制直接影响检测结果的准确性和重复性。全自动化学发光仪器通常需要在特定时间点精确控制光源的开启和关闭,以避免背景光的干扰,确保信号采集的纯净度。
传统的光路控制方式主要采用以下几种技术:
•机械快门:通过电机驱动叶片实现光路的开闭,响应速度较慢且体积较大
•液晶光阀:基于液晶材料的电光效应控制光路,但存在温度敏感性和偏振依赖性。
•声光调制器:利用声光效应实现快速调制,但成本高昂且系统复杂这些传统技术各有局限性,难以完全满足现代化学发光仪器对快速响应、小型化和高可靠性的要求。特别是在高通量全自动化学发光分析系统中,需要挡光机构具备毫秒级响应速度、数十万次的使用寿命以及紧凑的结构设计。

一、解决方案:M30135070R旋转电磁铁
随着医疗诊断技术的不断发展,化学发光免疫分析技术因其高灵敏度、宽线性范围和良好的稳定性,已成为临床检验领域的重要分析方法。全自动化学发光仪器作为该技术的核心设备,对光学系统的精确控制提出了极高要求。本文将详细介绍广州市威恒电子有限公司研发的M30135070R型旋转电磁铁在全自动化学发光仪器中的创新挡光应用,该产品通过独特的旋转电磁铁驱动摆臂机构,实现了光源出口的精准控制,不仅性能优异,而且可直接替代日本新电元Shindengen同类产品,为国产关键零部件替代提供了优秀范例。
1. 工作原理
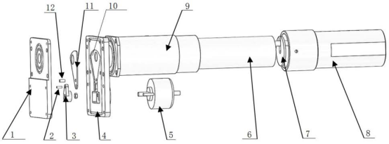
在化学发光检测中,需避免杂散光干扰检测信号。挡光部件通过物理遮挡光路,确保只有目标发光信号进入检测器,旋转电磁铁5部件上安装挡光片,旋转特定角度实现光路的开启/关闭的切换。

1. 结构参数与性能指标
尺寸规格:直径30mm,旋转轴直径3.97mm,与日本新电元Shindengen同类产品尺寸完全兼容
旋转角度:35°精确旋转(可根据客户需求定制30°-45°范围内的不同角度)
工作电压:DC24V可选(其他电压可定制)
旋转扭力:0.017N·m(在24V工作电压下)
响应时间:通电后100ms内完成35°旋转动作
复位方式:弹簧复位
使用寿命:200万次动作循环(在额定负载条件下)
功率:8.22W 电流:0.342A
三、客户效益提升
在开发适用于化学发光仪器的旋转电磁铁过程中,广州市威恒电子有限公司的研发团队攻克了多项技术难题,这些创新不仅解决了特定应用场景的问题,也为旋转电磁铁技术的发展积累了宝贵经验。
电磁铁在断电后存在的剩磁效应是影响挡光机构复位精度和响应速度的关键因素。传统电磁铁设计中,剩磁可能导致复位不完全或复位时间延长,这对于要求精确时序控制的化学发光检测是致命的。
M30135070R旋转电磁铁的成功开发和应用,不仅解决了化学发光仪器领域的关键零部件国产化问题,其技术理念和设计方法也适用于其他需要精密运动控制的医疗设备和工业自动化领域。随着产品性能的不断提升和应用经验的积累,其市场前景将更加广。
关于威恒电子
广州市威恒电子有限公司专注旋转电磁铁研发与生产,产品广泛应用于分选机、医疗设备、自动化仪表等领域,致力于为客户提供高精度、长寿命的电磁驱动解决方案。
(如需详细技术参数或定制服务,请联系威恒电子孔工13610043537。)
联系我们
光闸电机事业部:135-6036-5059 吕小姐
分选行业事业部:136-1004-3537 孔工
行业定制:138-2848-0507 陈工
公司固话:020-8319-0661
广州市番禺区大石街道会江深蓝工业园11栋5楼